詳細內容:一、Y型快閉止回閥介紹

Y型快閉止回閥可以取代傳統設計的止回閥、電動閥和水錘吸納器.多功能止回閥具有緩開、緩閉、水錘、止回功能,其可靠性及效果比傳統形式更好.
Y型快閉止回閥特點
1. Y型快閉式止回閥主閥體采用Y型膜片式結構,密封副為非金屬密封;閥門一般要求水平安裝,與管道的連接形式為法蘭連接, 法蘭連接尺寸按國家標準GB/T17241.6執行。
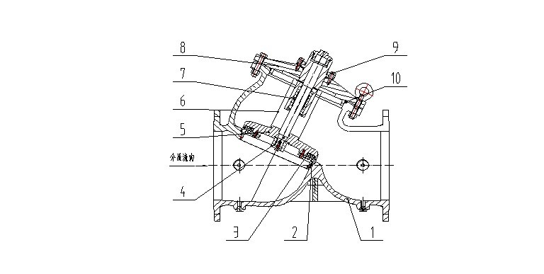
2. Y型快閉式止回閥由閥體、閥蓋、中心軸、銅套、閥座、閥瓣等主要零件組成,通過控制閥瓣的上下運動來實現閥門的啟閉。
3. Y型快閉式止回閥具有水力自動控制特點,能與水泵聯鎖,在水泵停止時,起快速止回,防止水錘產生的作用。
4. Y型快閉式止回閥密封效果良好,保證閥門泄漏量為零泄漏。
5. Y型快閉式止回閥閥體采用Y形流線型結構,結構合理。
6. Y型快閉式止回閥可實現在線維修。
7. 鑄件采用先進的鑄造工藝鑄造。
二、Y型快閉止回閥零件材料
|
零件名稱 |
材質 |
|
閥體、閥蓋 |
鑄鐵、鑄鋼、不銹鋼 |
|
閥桿 |
鉻不銹鋼 |
|
閥瓣 |
碳鋼、不銹鋼+丁腈橡膠 |
|
O形圈 |
丁腈橡膠 |
|
彈簧 |
不銹鋼 |
|
導套 |
黃銅、不銹鋼 |
三、Y型快閉止回閥性能參數
|
公稱壓力 (MPa) |
殼體試驗壓力 (MPa) |
密封試驗壓力 (MPa) |
調壓范圍 (MPa) |
適用介質 |
介質溫度 (℃) |
|
1 |
1.5 |
1.1 |
0.1~0.9 |
水、油及性質接近 水的液體 |
0~80 |
|
1.6 |
2.4 |
1.76 |
0.15~1.4 |
|
2.5 |
3.75 |
2.75 |
0.2~2.2 |
四、Y型快閉止回閥外形尺寸
|
DN |
L |
H |
D mm |
D1 mm |
b mm |
D2 mm |
n-Φd |
|
mm |
mm |
PN1.0 |
PN1.6 |
PN2.5 |
PN1.0 |
PN1.6 |
PN2.5 |
PN1.0 |
PN1.6 |
PN2.5 |
PN1.0 |
PN1.6 |
PN2.5 |
PN1.0 |
PN1.6 |
PN2.5 |
|
40 |
240 |
270 |
150 |
150 |
150 |
110 |
110 |
110 |
18 |
18 |
18 |
88 |
88 |
84 |
4-17.5 |
4-17.5 |
4-18 |
|
50 |
240 |
270 |
165 |
165 |
165 |
125 |
125 |
125 |
20 |
20 |
20 |
102 |
102 |
99 |
4-17.5 |
4-17.5 |
4-18 |
|
65 |
270 |
340 |
185 |
185 |
185 |
145 |
145 |
145 |
20 |
20 |
22 |
122 |
122 |
118 |
4-17.5 |
4-17.5 |
8-18 |
|
80 |
300 |
400 |
200 |
200 |
200 |
160 |
160 |
160 |
22 |
22 |
24 |
133 |
133 |
132 |
8-17.5 |
8-17.5 |
8-18 |
|
100 |
350 |
440 |
220 |
220 |
235 |
180 |
180 |
190 |
24 |
24 |
24 |
158 |
158 |
156 |
8-17.5 |
8-17.5 |
8-22 |
|
125 |
400 |
460 |
250 |
250 |
270 |
210 |
210 |
220 |
26 |
26 |
26 |
184 |
184 |
184 |
8-17.5 |
8-17.5 |
8-26 |
|
150 |
480 |
500 |
285 |
285 |
300 |
240 |
240 |
250 |
26 |
26 |
28 |
212 |
212 |
211 |
8-22 |
8-22 |
8-26 |
|
200 |
500 |
640 |
340 |
340 |
360 |
295 |
295 |
310 |
28 |
30 |
30 |
268 |
268 |
274 |
8-22 |
12-22 |
12-26 |
|
250 |
605 |
690 |
395 |
405 |
425 |
350 |
355 |
370 |
28 |
32 |
32 |
320 |
320 |
330 |
12-22 |
12-26 |
12-30 |
|
300 |
700 |
820 |
445 |
460 |
485 |
400 |
410 |
430 |
28 |
32 |
34 |
370 |
370 |
389 |
12-22 |
12-26 |
16-30 |
|
350 |
800 |
950 |
505 |
520 |
555 |
460 |
470 |
490 |
30 |
36 |
38 |
430 |
430 |
448 |
16-22 |
16-26 |
16-33 |
|
400 |
900 |
1400 |
565 |
580 |
620 |
515 |
525 |
550 |
32 |
38 |
40 |
482 |
482 |
503 |
16-26 |
16-30 |
16-36 |
|
450 |
1000 |
1580 |
615 |
640 |
670 |
565 |
585 |
600 |
32 |
40 |
42 |
532 |
550 |
548 |
20-26 |
20-30 |
20-36 |
|
500 |
1100 |
1600 |
670 |
715 |
730 |
620 |
650 |
660 |
34 |
42 |
44 |
585 |
585 |
609 |
20-26 |
20-33 |
20-36 |
|
600 |
1300 |
1815 |
780 |
840 |
845 |
725 |
770 |
770 |
36 |
48 |
46 |
685 |
685 |
720 |
20-30 |
20-36 |
20-39 |